Description
REVIEWS
SPECIFICATION
USER DOCUMENT
VIDEO
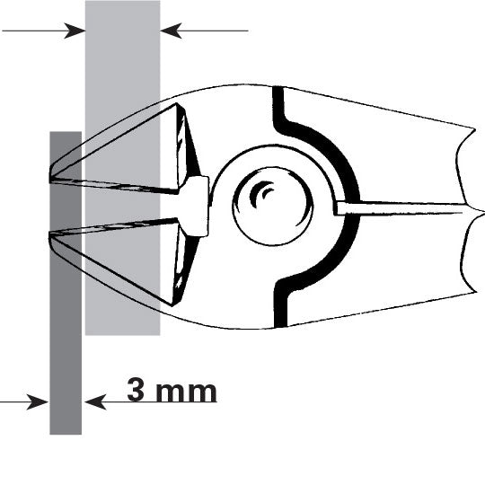
Made in Switzerland. Jaws are made of hardened steel and pointed.The extra long handles give better leverage and thus require less power. A stop lock prevents damage to cutting blades. Cuts sprue up to 8 gauge (3mm).
WARNING:
California's Proposition 65
Customer Reviews
No reviews yet Write a review
| Cutting width | 22mm |
| TotalLength | 260mm |
| Locking system | Sturdy, double reduction |
| Cutter | useful for cutting pieces of casting |





